продам
Лампы 6П36С
129Дополнительная информация: Винница, тел.096-890-50-29 http://www.mwp.org.ua
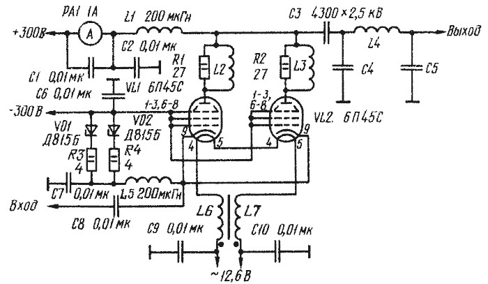
Продам две лампы 6П36С, б\у с керамическими панельками. Можно применить в КВ УМ на низкочастотные диапазоны с выходной мощностью до 30 вт (60 вт при 2х лампах параллельно). Стоимость 200 грн. за пару. Схема усилителя прилагается. Также есть лампы б/у смотреть по адресу https://mwp.org.ua/lamp.html . Кроме того в наличии есть набор различной комплектации, в том числе и для простых схем для радиолюбительских конструкций (емкости, транзисторы, диоды, мосты, установочные элементы и другое (все новое). Перечень смотреть по адресу http://www.mwp.org.ua/rynok/nelikwidy.html Звонить по телефонам 096-890-50-29 и 050-677-34-27, Валерий.





На прилагаемой схеме показано лампы 6П45С, в которой л. п. не соединены с катодом.
Лампа 6П36С хорошая, но только в схеме с ОК, с двух ламп 200 Вт легко. . .